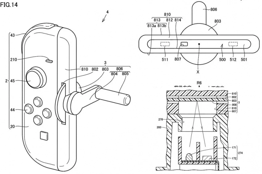
Порыбачим? Nintendo запатентовала кривошипный аксессуар для Joy-Con 2
Это устройство позволит использовать левый Joy-Con 2 в качестве контроллера для удочки, сделав рыбалку в играх, например, в возможных будущих версиях Animal Crossing: New Horizons, более реалистичной.
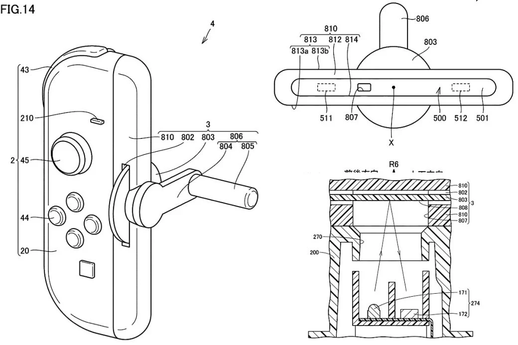
В отличие от картонного удилища Toy-Con из набора Labo для оригинальной Switch, новый аксессуар будет пластиковым или металлическим. Для отслеживания вращения кривошипа патент предлагает использовать датчики мыши внутри Joy-Con 2.
2 фотоЭнтузиасты предполагают, что такое устройство откроет путь для портирования игр с Playdate, использующих кривошип, а также позволит играть в классические игры про рыбалку, такие как Sega Bass Fishing, на Switch 2.
Патентная заявка, поданная еще в феврале 2024 года, также включает другие идеи для Joy-Con 2, например, кликабельное колесо, подобное колесу компьютерной мыши. Nintendo, вероятно, стремится закрепить права на эти концепции до их возможного появления у конкурентов.
Что касается игр, то Nintendo на днях провела Indie World, где показала почти 20 игр — от головоломок до выживания мыши зимой. Полный список смотрите в материале нашего коллеги. А неделей ранее на Direct показали игры сторонних разработчиков, которые выйдут на Switch 2. Место нашлось Cronos: The New Dawn и играм Square Enix.
			
			Обсудим?
		
	
	Смотрите также:
	



 
       
       
       
       
       
       
       
       
       
       
      